Kren TBM Kren TBM Kren TBM Kren TBM Kren TBM Kren TBM Kren TBM Kren TBM Kren TBM Kren TBM Kren TBM Kren TBM Kren TBM

Gantri Mudah Alih Kren

Rumah / Produk / Sistem Kren Ringan / Gantri Mudah Alih Kren

Gantri Mudah Alih Kren

Produk

Kelebihan gantri mudah alih ialah mobiliti omnidirectional, pembongkaran dan pemasangan pantas, dan jejak yang minimum, membolehkan mereka dipindahkan ke lokasi lain menggunakan van mini. Lebar dan ketinggian boleh laras mereka, bersama-sama dengan bingkai keluli mereka yang direka dengan baik, boleh menahan beban antara 100 hingga 5,000 kg. Ia amat sesuai untuk pemasangan, pengendalian dan pentauliahan peralatan bengkel, memuat dan memunggah kargo dari kenderaan, dan mengangkat komponen enjin yang besar di kedai pembaikan kereta.

Terdapat dua jenis utama gantri angkat kecil: satu ialah gantri mudah alih sepenuhnya dengan roda galas beban brek, sesuai untuk mengangkat aras tanah. Yang satu lagi ialah gantri tetap yang dipasang pada rel pada lantai atau rasuk, menggunakan angkat elektrik atau manual untuk pengangkatan berjentera. Ini mengurangkan tenaga kerja, mengurangkan kos pengeluaran dan operasi, serta meningkatkan kecekapan kerja. Syarikat kami boleh menyesuaikan produk berdasarkan keperluan tapak pelanggan. Pengangkat gantri mudah alih boleh dilengkapi sama ada pengangkat rantai tangan atau pengangkat rantai elektrik, menawarkan kepraktisan tinggi dan teknologi yang terbukti, menjadikannya sangat popular di kalangan pengeluar.

  • Spesifikasi
  • Mengenai TBM
  • Hubungi Kami

Model Mengangkat berat badan Dimensi (mm) Berat mati
kG A B C D F G H J K L (kG)
SRGS20 500 2000 2080 1100-1500 1544-2044 1876-2376 1158 2001-2501 2080 420 440 39
SRGS23 400 2300 2380 1200-1800 2380 40
SRGS40 250 4000 4080 2700-3500 4080 46
SRGM20 400 2000 2080 1100-1500 1548-2148 1880-2480 1215 2005-2605 2080 40
SRGM23 400 2300 2380 1200-1800 2380 41
SRGM40 250 4000 4080 2700-3500 4080 47
SRGT20 250 2000 2080 1100-1500 2022-2922 2354-3254 1586 2479-3379 2645 44
SRGT23 250 2300 2380 1200-1800 2380 45
SRGT40 250 4000 4080 2700-3500 4080 50
SRG1S20 1000 2000 2080 1102-1502 1490-1990 1822-2322 1242 1904-2404 2077 464 536 61
SRG1S30 1000 3000 3080 1902-2502 3077 67
SRG1S40 500 4000 4080 1902-3502 4077 73
SRG1M20 1000 2000 2080 1102-1502 1728-2428 2061-2761 1440 2143-2843 2200 65
SRG1M30 1000 3000 3080 1902-2502 3077 71
SRG1M40 500 4000 4080 1902-3502 4077 77
SRG1T20 1000 2000 2080 1102-1502 1969-2869 2301-3201 1639 2383-3283 2830 70
SRG1T30 1000 3000 3080 1902-2502 3077 76
SRG1T40 500 4000 4080 1902-3502 4077

82

Kapasiti mengangkat Model Dimensi (mm) Berat (kg)
Cadik*2 Rasuk utama*A
Spesifikasi kastor
Ketinggian cangkuk D Kenaikan ketinggian E Ketinggian maksimum atas rasuk F Tinggi keseluruhan H Lebar G
2000
(A=3920)
S 1495-2245 5x150 2600 1931-2681 1212 68*2 9.2*A 6 inci
M 2117-2867 5x150 3222 2553-3303 1429 75*2 9.2*A 6 inci
saya 2232-3232 5x200 3587 2668-3668 1726 84*2 9.2*A 6 inci
T 2747-3947 6x200 4301 3183-4383 1993 93*2 9.2*A 6 inci
H 3195-4395 6x200 4847 3730-4930 2234 98*2 9.2*A 6 inci
L 3585-4785 6x200 5347 4230-5430 2557 105*2 9.2*A 6 inci
K 3686-5286 8x200 5848 4330-5930 2733 111*2 9.2*A 6 inci
B 3869-5669 9x200 6149 4431-6231 2733 115*2 9.2*A 6 inci
3000
(A=3920)
5 1545-2295 5x150 2698 2029-2779 1212 71*2 11*A 8 inci
M 2167-2917 5x150 3320 2651-3401 1429 78*2 11*A 8 inci
saya 2282-3282 5x200 3685 2766-3766 1726 87*2 11*A 8 inci
T 2797-3997 6x200 4399 3281-4481 1993 95*2 11*A 8 inci
H 3245-4445 6x200 4847 3730-4930 2234 101*2 11*A 8 inci
L 3745-4945 6x200 5347 4230-5430 2557 107*2 11*A 8 inci
K 3846-5446 8x200 5848 4330-5930 2733 113*2 11*A 8 inci
B 4029-5829 9x200 6231 4513-6313 2733 119*2 11*A 8 inci
5000
(A=3920)
saya 2143-3143 5x200 3592 2717-3717 1736 108*2 15*A 8 inci
T 2838-4038 6x200 4487 3412-4612 2059 120*2 15*A 12 inci
H 3289-4489 6x200 4938 3862-5060 2234 125*2 15*A 12 inci
L 3789-4989 6x200 5438 4362-5562 2557 131*2 15*A 12 inci

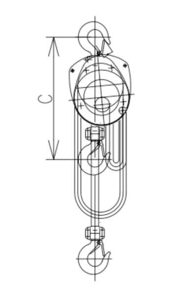
Pengangkat rantai tangan (rujukan)
Beban (kg) C(mm) Berat (kg)
250 290 4
500 350 9
1000 380 12
2000 460 19
3000 570 27
5000 700 43

Pengangkat elektrik (rujukan)
Beban (kg) C(mm) Kelajuan mengangkat (m/min) Berat (kg)
250 410 8/2 24
500 490 8/2 31
1000 430 4/1 35
2000 615 4/1 65
3000 730 4/1 140
5000 760 4/1 150

Aksesori pilihan

Untuk jenis SRG
Nombor siri Nama Gambar
SRG0006 Win 0.5t
SRG1006 1t win
SRG0007
SRG1007
Sokongan tegar
SRG0008
SRG1008
Sokongan fleksibel
SRG1010 jenis PRG1
SRG0016
SRG1016
Tali pengikat

Untuk jenis SG
Nombor siri Nama Gambar
SG 2006
SG 3006
SG 5006
Troli boleh tanggal
SG 2008
SG 3008
SG 5008
Troli zip tangan
SG 0002 Pengagihan kuasa troli
SG 2010
SG 3010
SG 5010
Sokong kaki
SG 2012
SG 3012
SG 5012
Kastor bantu
SG 2016
SG 3016
SG 5016
Jenis unicycle
Zhejiang Shuangniao Lifting Equipment Co., Ltd. ialah sebuah syarikat peralatan khas yang mengkhusus dalam penyelidikan dan pembangunan, pengeluaran, pemasaran dan perkhidmatan selepas jualan alat angkat elektrik tali dawai. Sejak penubuhannya, syarikat telah mementingkan pembangunan produk baharu dan inovasi teknologi, dan telah memfokuskan pada titik permulaan yang tinggi dan konfigurasi tinggi. Dalam penyelidikan dan pembangunan angkat elektrik, sambil terus memperkenalkan teknologi canggih asing, ia secara aktif membangunkan penyelidikan dan pembangunan angkat elektrik gaya Eropah baharu, dan mewujudkan konsep teras "inovasi menerajui masa depan, menumpukan pada pencapaian yang indah", yang telah menjadi baling-baling pembangunan angkat elektrik domestik dan menerajui Pembangunan industri angkat elektrik domestik.
Tentang Kami
Zhejiang Shuangniao Lifting Equipment Co., Ltd.
Zhejiang Shuangniao Lifting Equipment Co., Ltd.

Zhejiang Shuangniao Lifting Equipment Co., Ltd. ialah sebuah syarikat peralatan khas yang mengkhusus dalam penyelidikan dan pembangunan, pengeluaran, pemasaran dan perkhidmatan selepas jualan alat angkat elektrik tali dawai. Sejak penubuhannya, syarikat telah mementingkan pembangunan produk baharu dan inovasi teknologi, dan telah memfokuskan pada titik permulaan yang tinggi dan konfigurasi tinggi. Dalam penyelidikan dan pembangunan angkat elektrik, sambil terus memperkenalkan teknologi canggih asing, ia secara aktif membangunkan penyelidikan dan pembangunan angkat elektrik gaya Eropah baharu, dan mewujudkan konsep teras "inovasi menerajui masa depan, menumpukan pada pencapaian yang indah", yang telah menjadi baling-baling pembangunan angkat elektrik domestik dan menerajui Pembangunan industri angkat elektrik domestik.

Berita